Offshoreonly.com

Offshoreonly.com (https://www.offshoreonly.com/forums/)
-   General Q & A (https://www.offshoreonly.com/forums/general-q-20/)
-   -   carbed 502 running too cold (https://www.offshoreonly.com/forums/general-q/383263-carbed-502-running-too-cold.html)

Zekester 07-30-2024 09:05 PM

carbed 502 running too cold
 
I have a carbed 502 raw water cooled, 140 F tstat, lake is 73 F,
Temp doesn't get over 100, running rich and sooty.
I have merc 330 exhaust manifolds and 330 tstat housing, so there are water hoses to the manifolds, and to the elbows. The 502 tstat housing just has hoses to the manifolds....Should I run the 502 housing, and plug the elbow inlets?


BadDog 08-01-2024 07:38 AM

Have you verified the actual temps and that the T-stat is not stuck? Does it require the plastic checkballs in the t-stat housing assy? I would not plug anything off, you have a gremlin elsewhere. Both elbow and manifold need a water supply of some sort depending upon what type you have hoses may be different. Google Mercruiser water flow diagram and match your setup to correct diagram and verify everything is routed properly. Perhaps the parts diagrams at Bam marine may help.

Zekester 08-01-2024 02:09 PM

-top of t stat housing stays cold to the touch,
-T stat was put in water beside a new one, both opened at 140...using new one because it does not have holes in it.
-I've found a few flow drawings, whati've found is that my setup looks like a combination of other setups, which is probably the problem. I'm using the 330 thermostat housing on the 502....and have it aligned as per the 330, the gasket with the block off part is the at top of the housing, tstat under the sleeve as per parts drawings...

My concern is that set up like this the bottom of the exhaust manifold only gets coolant after the tstat opens, the gasket and the sleeve block off flow until that happens, the elbows get water right away from the housing with the check balls.
There is a sleeve (not like mine, mine is solid) with slots in it that allow water to the manifolds with tstat closed.

I'm thinking I should just get the proper 502 housing...If I ran the proper 502 thermostat housing, there is flow to the bottoms of the manifolds and through manifolds to elbows, from the mixing chamber, and when the t stat opens there is more flow,

BadDog 08-01-2024 02:33 PM

Well it sounds like you're smarter than the average bear and willing to be persistent! Perhaps compare your intake manifold part number and match up the thermostat housing with same. Without seeing what you are doing and parts on hand that seems it would be a sure cure? Use the part number search at BAM and find out what exploded diagram you need to look at.


Zekester 08-01-2024 03:40 PM

Thats an idea, I don't know what the intake is from, just that it's aluminum...and has the hose from the water pump at the front...I'll run the number and see what tstat housing works with it...I thought that's how I'd find the right sleeve for it too...

lol...not persistant....just at wits end!

Griff 08-01-2024 03:42 PM

Post a pic of what you have. Either T stat housing should work fine.

BTW, colder engines run leaner, not richer, unless possibly you have a choke on your carb that is not opening fully.

Zekester 08-01-2024 03:51 PM

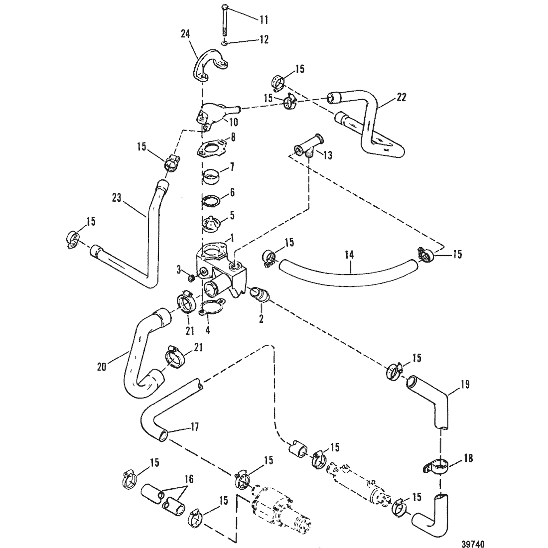
intake is 6269318, when i ran that it came up as 454 magnum/502...the matching tstat housing is the 4 hose 502 style, not the 6 hose style i'm using...i'll get you pics...

Zekester 08-01-2024 04:03 PM

https://cimg3.ibsrv.net/gimg/www.off...428774f4a8.jpg
https://cimg4.ibsrv.net/gimg/www.off...5ed256467e.jpg

BadDog 08-02-2024 05:32 AM

Which if either is your setup?
https://www.offshoreonly.com/forums/...w-diagram.html
different engine etc but some exhaust have 2 hoses, one to elbow and one to manifold and others only a hose on the manifold. Risers, gaskets, elbows etc. may differ.

That intake is the same as any other GM 454/502 intake, just aluminum. That is the one that came on my 502 crate Gen VI crate motor and the T-stat housing should/could look like this-
https://www.mercruiserparts.com/bam/...1804/2044/120f

and looks to be same design as this one
https://www.mercruiserparts.com/bam/...31798/2690/140
and this looks like what you are using presently?
https://www.mercruiserparts.com/sear...true&orderBy=0

OK, so know we know what parts are what but I don't know the functional differences. I am familiar with the operation of the first two I linked, not the one you are using. There are few of the 8M0061381 here and there on e-bay and amazon has a china knockoff in stainless but probably crap.

I think you have to match the T-stat housing design and operation to the type of exhaust manifold you have, two hose 4 hose?
https://www.mercruiserparts.com/bam/...31953/5725/110
vs.
https://www.mercruiserparts.com/bam/...31796/1614/190
Never really thought about it that much but did not have mix-and-match parts.

Zekester 08-02-2024 11:13 AM

-Yes this is similar to what I'm using, the '4 hose" which was stock on the 330 454 '86-92, https://www.mercruiserparts.com/sear...true&orderBy=0,
The only difference is my top gasket does not have a hole in it. with the solid sleeve in place, and no hole, the only way the exhaust manifolds get cooling water is when the tstat opens. The old 330 had signs of overheating the heads, and I think this might have something to do with it.
-On the 454 magnum, and 502, the manifold is the two hose, which has cooling to the exhaust manifolds right away, but no direct cooling to the elbows, the elbows get water from below from the manifolds. when the tstat opens it just allows hot engine water to go to the exhaust manifolds...in addition to the water already coming from the cold side of tstat.
-the only difference from the 4 to 2 hose elbows is the 2 hose have plugs not inlets, so they get all their water from the exhaust...

It looks like the 502 two hose style was more common, used on small blocks and big blocks...

I'm thinking the 502 style 2 hose is more stable, with the manifolds getting water right away, for the price of a tsat housing the hoses and two plugs, i've the 4 hose...might just try it and use a temp gun to check temps...maybe with this style my temps will run hotter, I still can't figure out why the 4 hose is running so cold...

Do you have experience with the 4 hose? I have mine as per the parts drawing, and it's just too cold...

SB 08-02-2024 05:48 PM

I haven't read much after 1st post.
question - did you use tstat housing base gasket with rivets that grounds it to the intake ? If not, your coolant temp sensor may not read anything

https://cimg4.ibsrv.net/gimg/www.off...ab80a6a47.jpeg


Zekester 08-02-2024 06:10 PM


Originally Posted by SB (Post 4904888)
I haven't read much after 1st post.
question - did you use tstat housing base gasket with rivets that grounds it to the intake ? If not, your coolant temp sensor may not read anything

https://cimg4.ibsrv.net/gimg/www.off...ab80a6a47.jpeg

Yes, I ran the numbers in the parts diagram and put all the correct gaskets in place...I checked the guage by grounding the wire to the sender case and to a bolt on the intake,

Right now I have the corrct base gasket, the correct tstat, the correct upper gasket (with no hole) and the correct sleeve in the housing, as per to 330 diagram, and have the cooling issue...I'm contemplating switching the housing to the 502 style 2 hose, and seeing if that works...

SB 08-03-2024 06:48 AM

https://cimg5.ibsrv.net/gimg/www.off...92f234db05.gif

Zekester 08-03-2024 07:55 AM


Originally Posted by SB (Post 4904910)

Yes that's what I have...so the elbows get water from the balled T fitting right away....but the manifolds only get water after the t stat opens, he gasket and sleeve block off and flow until then...Im guessing but maybe the coolant is going through the intake, and out the t fitting to the elbows so it never gets held up to absorb heat...there is always flow...in the 454Magnum/502 set up, the water is held in the intake by the tstat, so it has to warm up before it opens and flows...
does that make sense, or am i missing something about the 4 hose setup i have?

SB 08-03-2024 08:22 AM

You are slightly incorrect about the 4 port magnum set up - unless i am misunderstanding your ‘held up’ term. Look for posts from me on these. I dissected them well.

Zekester 08-03-2024 08:27 AM


Originally Posted by SB (Post 4904918)
You are slightly incorrect about the 4 port magnum set up - unless i am misunderstanding your ‘held up’ term. Look for posts from me on these. I dissected them well.

this sounds like a good read on a saturday morning with a cup of coffee: ) imma make a cup and look it up:)

Zekester 08-03-2024 08:57 AM

found your post, yes I agree completely, I think this is what i should be running. When I say held up, I mean the only flow out of the intake, is through the tstat and the small bypass hose that goes back to the waterpump...I'm trying to find the diagram I had of the 330 flow...

Zekester 08-03-2024 09:15 AM

So this is what I have now, the manifolds only get cooling water after the tstat opens, would this not allow the heads to overheat when there is no flow? the tstat doesnt hold any flow as the engine warms up, allowing coolig water to blast by...maybe this is my running cold problem?
https://clubsearay.com/index.php?att...01-jpg.115719/

Zekester 08-06-2024 04:19 AM

Is one more desirable than the other? I don't know what I can change on my setup to get the temps up....also as mentioned, original 330 had signs of overheated heads, I would think my setup is prone to that, because of the no flow to exhaust manifolds...

sutphen 30 08-06-2024 07:41 AM

does the thermostat have a bypass hole in it?if not,add a couple of 3/16" holes

Zekester 08-06-2024 08:00 AM


Originally Posted by sutphen 30 (Post 4905218)
does the thermostat have a bypass hole in it?if not,add a couple of 3/16" holes

The one I pulled out had two holes, the new one had none...I get it, with the two holes the manifolds will get some water...but won't letting it bypass keep it running cooler? I'm trying to get it to heat up...

Zekester 08-06-2024 08:05 AM


Originally Posted by sutphen 30 (Post 4905218)
does the thermostat have a bypass hole in it?if not,add a couple of 3/16" holes

The one I pulled out had two holes, the new one had none...I get it, with the two holes the manifolds will get some water...but won't letting it bypass keep it running cooler? I'm trying to get it to heat up...

sutphen 30 08-06-2024 10:18 AM

this motor ever apart?

Zekester 08-06-2024 10:41 AM


Originally Posted by sutphen 30 (Post 4905240)
this motor ever apart?

yes, it's just been rebuilt, only has 8 hours on it...it runs at 120F on the hose, but cools right down in the water...

I have other issues with it, if you look at some of my other posts...I'm just trying to get through things one at a time...

Griff 08-06-2024 09:39 PM

My 1993 454 mag ran a 6 hose T stat housing original from Merc. Like I said earlier, either Tstat housing should work fine if plumbed and assembled correctly

Mine was the same as what you have. Merc diagram THERMOSTAT HOUSING(STANDARD COOLING) S/N: 0F3519999 & BELOW (mercruiserparts.com)
https://cimg3.ibsrv.net/gimg/www.off...5e8d4a2adf.jpg

Zekester 08-06-2024 09:46 PM


Originally Posted by Griff (Post 4905310)
My 1993 454 mag ran a 6 hose T stat housing original from Merc. Like I said earlier, either Tstat housing should work fine if plumbed and assembled correctly
https://cimg3.ibsrv.net/gimg/www.off...5e8d4a2adf.jpg

I've lined up everything as per the parts drawings I can find. I did check the gauge but not the sender, I have a new one i'll change it next, I'm going to change out the tstat and put the one with the 2 holes in it back in, just to get some flow to the exhaust manifolds....



All times are GMT -5. The time now is 06:49 PM.


Copyright © 2026 MH Sub I, LLC dba Internet Brands. All rights reserved. Use of this site indicates your consent to the Terms of Use.