Can some please explain Proper water flow?
#11
Registered

Joined: Nov 2004
Posts: 14,154
Likes: 3,714
From: On A Dirt Floor
Alpha system:
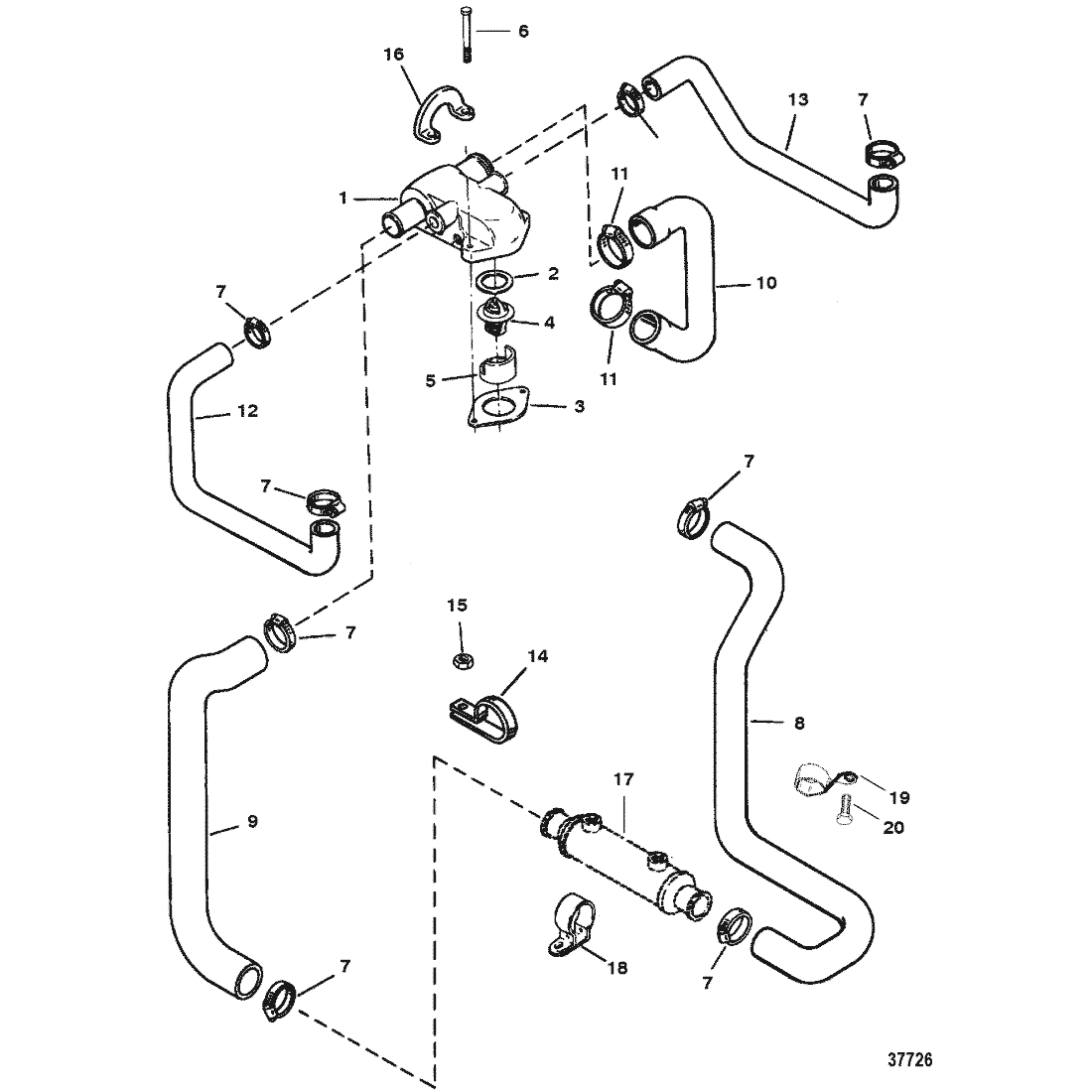
Outdrive pump, to transom thru small diameter (5/8” ?) hose. Inside boat, top of transom plate, there is a nipple fitting bolted to top. Hose connects to this, routes under motor on passenger side , just after motor mount it will go to power steering cooler. Hose goes from this up front if motor to the thermostat housing. Housing will prioritize water going to engine (recirculating pump) and the remainder to the exhaust. When engine thermostat opens, that water will also get routed to the exhaust. Since tstat prioritizes engine, more water will thereflow flow to engine with tstat open.

Outdrive pump, to transom thru small diameter (5/8” ?) hose. Inside boat, top of transom plate, there is a nipple fitting bolted to top. Hose connects to this, routes under motor on passenger side , just after motor mount it will go to power steering cooler. Hose goes from this up front if motor to the thermostat housing. Housing will prioritize water going to engine (recirculating pump) and the remainder to the exhaust. When engine thermostat opens, that water will also get routed to the exhaust. Since tstat prioritizes engine, more water will thereflow flow to engine with tstat open.

#12
Registered

Joined: Jun 2020
Posts: 523
Likes: 188
From: Holland MI
Once water enters the y pipe it will take the path of least resistance to exit the boat depending on boat angle, drive angle, pressure, etc. The exit locations are the 2 holes on the transom assembly and through the prop.
#14
Thread Starter
Registered
Joined: Jun 2024
Posts: 18
Likes: 0
#16
Thread Starter
Registered
Joined: Jun 2024
Posts: 18
Likes: 0
I'm almost positive I had the spring facing down. And I know the plastic retainer is installed right. I made sure the ports wasn't blocked by the plastic retainer and besides that, it's notched and grooved to only go one way
#17
Registered

Joined: May 2009
Posts: 1,942
Likes: 527

up there on the risers are the rubber boots that connect to the Y pipe, up near the top of the Y pipe are some flappers on each side.
Every once in a while they deteriorate or fail in some kinda way in which all or part of them end up as far as the drive.
only way to find out is remove the boots and scope the Y pipe, next would be to pull and split the drive.
Some shop putting in an impellor doesn't mean anyone looked any deeper if there was no complaint
New flappers doesn't mean the old ones or part of the old ones aren't jammed up somewhere down stream.
Last edited by outonsafari; 06-18-2024 at 12:43 PM.




