shift cable adjustment tool/ plate for a OMC Cobra (1986) drawing or CAD file?
#1
Thread Starter
Registered
Joined: Apr 2015
Posts: 75
Likes: 1
From: Arizona
i remember seeing a dimensioned drawing of the shift cable tool/ plate that is used for setting the cables for an OMC Cobra (86-93)
does anyone have the link to one or picture so I can print one (3D printer)?
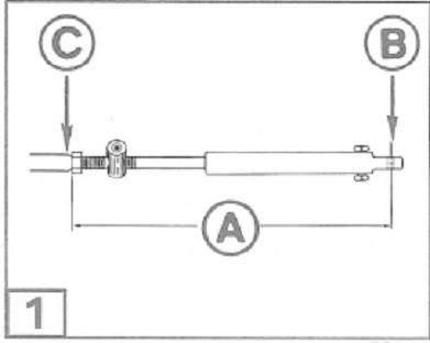
looks like these

I know A it 7-9/16 +/- 1/16

I have started making a Solidworks model, once I'm done its off to the 3D printer to start slinging some plastic.... For the record 3D printers are awesome!!! I have needed some pieces for my boat, found out how much people wanted for them. Opened up solidworks, created a piece then hit the print button... a few hours later I have the part I need.... now if I just had one that was big enough to print a boat....
does anyone have the link to one or picture so I can print one (3D printer)?
looks like these

I know A it 7-9/16 +/- 1/16

I have started making a Solidworks model, once I'm done its off to the 3D printer to start slinging some plastic.... For the record 3D printers are awesome!!! I have needed some pieces for my boat, found out how much people wanted for them. Opened up solidworks, created a piece then hit the print button... a few hours later I have the part I need.... now if I just had one that was big enough to print a boat....
#3
Thread Starter
Registered
Joined: Apr 2015
Posts: 75
Likes: 1
From: Arizona
do you still have it? can you trace it and scan it in with a 1" reference line on the same paper? i can then import that into SW and create the CAD for everyone and a .stl for laser cutter/ water jets/ 3D printers




